H形鋼用支持金具(強力タイプ)

  • ●造営材のフランジ幅の範囲で耐震架台等の支持部材を固定できます。

WEBカタログを見る

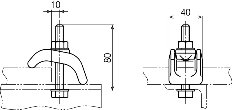
寸法図
許容静荷重
仕様表項目絞り込み

CAD 図面 図面 仕様 ご注文品番 適合 販売単位 価格
フランジ厚
図面 E BHIKHR 8~28 1個(片側) 2,140円
図面 Z Z-BHIKHR 8~28 1個(片側) 2,980円

※複数製品で同じ資料の場合があります。商品によってはzipファイルでダウンロードされる場合があります。

その他資料ダウンロード

※ご利用の環境によっては、表示出来ないファイル形式の場合がございますのでご了承ください。

資料を一括ダウンロード

ページトップへ戻る